招商信诺:电销违规、转型遇坎,新掌舵人王颖能否平衡短长业绩?
来源:燕梳师院

招商信诺人寿是中国入世后首批中外合资寿险公司之一。背靠拥有超230年的健康医疗服务经验的信诺集团,公司以健康保障为专长,长期深耕高端医疗险,一度成为中国健康保障市场的标杆企业。
然而,最近,招商信诺却频繁成为舆论焦点。先是武汉电销中心被罚29万元,再是总部被列为“被执行人”。一边是合资险企的光鲜头衔,一边是合规与诉讼争议,招商信诺人寿的企业信誉正遭遇严峻拷问。
违规旧疾
11月3日,一则行政处罚信息直指招商信诺人寿的一家销售中心。信息显示,招商信诺人寿武汉电话销售中心及相关责任人因“欺骗投保人”的违法违规行为,被罚款22万元。且相关责任人姜云也被予以警告并罚款7万元。

招商信诺人寿武汉电销中心成立于2014年,目前法定代表人为彭东。根据工商变更信息,此次被罚的相关责任人姜云,曾在2023年3月10日成为招商信诺人寿武汉电销中心的法定代表人。任职仅7个月后,姜云便卸下法定代表人,由李华敏接任。
需要指出的是,仅凭姜云担任法定代表人的时间段,并不能直接断定此次处罚所涉及的违规行为就发生在他任内,因为监管罚单并未明确说明违规行为发生时姜云的具体职务。
不过,按照行业惯例,险企分支机构的法定代表人通常是公司的总经理。即便无法确定姜云卸任总经理后是否还在该电销中心任职,但其作为时任主要负责人被处以7万元罚款并予以警告,也能侧面反映此次违规情节可能较重。
这并非招商信诺人寿武汉电话销售中心首次因“欺骗投保人”被罚。梳理可见,八年来,该中心屡犯屡罚。2017年11月,(原)中国保监会出具的处罚决定书认定,该中心在2015年的电话销售中,存在夸大产品收益、提供不实市场信息、回避客户核心疑问等多项问题,最终被罚款15万元,时任总经理文某因管理失职被警告并罚款5万元。
监管的惩戒并未根治。2021年5月,陕西银保监局再次因“欺骗投保人”对该中心处以8万元罚款。短短四年内两次被罚,八年后又再度上演。此次虽未披露“欺骗投保人”的具体细节,但从往年的销售投诉来看,“诱导消费”很可能是其被罚源头。
其他分支机构也相继“踩线”。9月,因“财务业务数据不真实、未按规定执行经备案的保险费率”的违法违规行为,招商信诺人寿广东分公司被广东监管局罚款1万元。同时,时任该分公司市场部总经理助理(主持工作)李瀚因“财务业务数据不真实”被警告并处1万元罚款;时任该分公司运营服务部副总经理(主持工作)张慧因“未按规定执行经备案的保险费率”被警告并处罚款4万元。
沦为“被执行人”
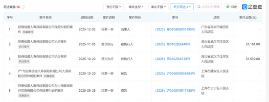
法律诉讼量也居高不下。企查查数据显示,截至发稿,招商信诺人寿已累计卷入法律诉讼逾400起,其中司法案件200件,近半数纠纷集中在人身保险合同纠纷。仅2025年至今,就有16起开庭公告,最近一起人身保险合同纠纷将于12月2日开庭审理。

值得注意的是,招商信诺人寿近期两次被湖北省武汉市江岸区人民法院列为被执行人:一次是10月22日,执行标的为3.15万元,案号为(2025)鄂0102执6726号;另一次为11月5日,执行金额3.12万元,案号为(2025)鄂0102执6940号。
虽两笔执行标的金额不大,且目前无未履行金额,但短期内连续被列为被执行人,在一定程度上反映了公司在合同履行、客户服务等环节存在的潜在问题。在金融监管持续强化“保险姓保”的背景下,这类司法纠纷可能增加公司的运营成本,更可能对保险企业的市场信誉造成较大程度损害。
重塑传统模式
论经营业绩,招商信诺人寿近年来出现“增收不增利”。从2020—2024年,公司分别实现保险业务收入196.61亿元、218.17亿元、265.19亿元、346.46亿元、414.83亿元。同比增速分别为9.21%、10.97%、21.55%、30.65%、19.73%。
相对其保费规模的快速增长,盈利能力整体失速。同期,净利润分别为16.34亿元、11.75亿元、6.74亿元、4.02亿元以及5.36亿元。
而近年来“增收不增利”的“导火索”却是保险责任准备金的提升。2020—024年,公司分别提取保险责任准备金142.12亿元、162.69亿元、219.57亿元、311.3亿元、381.58亿元。因此,公司营业支出的增长速度远高于营业收入增速,导致盈利增速“开倒车”。
不过,进入2025年,公司一扫盈利颓势。截至前三季度,实现保险业务收入377.97亿元,同比增长5.31%;净利润更是同比暴增1019%至32.03亿元,在非上市人身险公司中表现亮眼。

净利的大幅增长,主要得益于投资端的出色表现。2025年前三季度,权益市场整体向好,非上市人身险公司的简单平均投资收益率达3.79%。而招商信诺人寿作为其中一员,产生了不少贡献,前三季度,投资收益率及综合投资收益率分别为3.59%、4.03%。
战略模式上,公司正努力摆脱对传统路径的依赖,向可持续的“高质量增长”模式艰难转身。2025年,招商信诺人寿积极推进以“大健康”为核心的战略转型,并发布了新三年规划,资源全面向健康类业务倾斜。目前,健康险产品占在售产品比例高达61%。
而转型也带来了相应挑战,一方面,部分健康险产品退保率偏高,影响业务稳定性;另一方面,渠道结构仍显单一,2025年一季度,银保渠道保费占比已攀升至88.92%。如何在保障短期业绩平稳的同时,有效拓展互联网等多元化渠道、降低对银保的过度依赖,成为公司亟待破解的关键课题。
2025年9月,公司迎来重要人事变动,招商银行副行长王颖接替王小青,成为拟任董事长。作为新任掌舵人,王颖如何引领公司平衡短期业绩与长期战略,备受市场关注。
猜你喜欢
- 2025-11-13光伏龙头晶澳科技,深夜辟谣
- 2025-11-13金融机构Saxo Markets:美国市场估值偏高 亚洲是押注AI热潮的更理想之地
- 2025-11-13汇丰:若政治动荡消退,英国国债中期前景看好
- 2025-11-13招商信诺:电销违规、转型遇坎,新掌舵人王颖能否平衡短长业绩?
- 2025-11-12大规模裁员通知"激增",数据接连“报警”,美国就业市场急转直下
- 2025-11-12建滔集团获Hallgain Management Limited增持3万股 每股作价26.82港元
- 2025-11-12G7外长会在加拿大举行 将讨论全球安全议题
- 2025-11-12Rivian攀升9.1%,创52周新高
- 2025-11-12“美国最大卡车休息站”陷入沉寂,德克萨斯州“卡车司机天堂”被驱逐始末
- 2025-11-12科技股领跌,主线换了吗?

网友评论